Aalberts Surface Technologies UK Adds Another Plasma Nitrider
"Aalberts Surface Technologies UK is continuing it's investment with another plasma nitrider, we are thrilled to announce the addition of a further Plasma Nitriding furnace at our Telford site. The furnace significantly enhances our overall capacity and capability, representing further growth within...
Bodycote enters production for increased HIP capacity in Southeastern US
"Bodycote, the world’s largest thermal processing services provider, has begun production for its previously reported expansion of Hot Isostatic Pressing (HIP) services in Greenville, South Carolina, USA. In recognition of the growing market for additive manufacturing and the associated need for...
Used Furnace And Equipment Listings
“The Monty” has one of the largest listings for used heat treating equipment in North America. Below you will find our two most recent additions and also a categorized listing by furnace type. If you don’t find what you are looking for let us know and we will find it for you. Have equipment to sell? We are here to find you a buyer, just drop a line to [email protected]
Super Systems Inc. (SSi) Will Be Holding Technical Seminars in Charlotte, NC & Atlanta, GA
Harry Hall-A Giant in the Commercial Heat Treating Industry Passes
We regret to mention that Mr. Harry Hall, one of the best known individuals in the North American commercial heat treating industry passed away Saturday August 3, 2024. Harry was President and Owner of Aberfoyle Metal Treating in Aberfoyle, Ontario, Canada from 1989-2015, Aberfoyle was and continues...
Top Heat Treatment Industry News Items Week 31
Each week "The Monty Heat Treat News" looks at the Top 3 news items for the previous week based upon reader interest. For the week starting July 29th 2024 these were the top 3 news stories; "World’s Largest Commercial Heat Treater Releases Interim Results; UK based “Bodycote” is without a doubt...
German Firm Invests in Vacuum Sintering Furnace
"Zimmer GmbH Kunststofftechnik, part of the Zimmer Group, Rheinau, Germany, has invested in an additional vacuum sintering and debinding furnace. By adding this furnace to its production facilities, the company reports that it is increasing its operational efficiency and expanding its Metal...
USA Oven Manufacturer Expanding/Moving to New Facility
"SINC Thermal, a leading manufacturer of industrial melting furnaces and ovens, has announced that it will expand in O’Fallon, Missouri, investing $4 million and creating 25 new jobs. The company’s expansion includes the relocation of its sales, administrative, and manufacturing operations to a new...
Interpower Induction adds KVA Induction to it’s Group of Companies
From the Induction heating world we have this interesting press release. "The Monty" will be following this story up with a visit to "Interpower" this upcoming week; "ALMONT, Mich. – Interpower Induction is pleased to announce its recent acquisition of KVA Induction, furthering the reach of the...
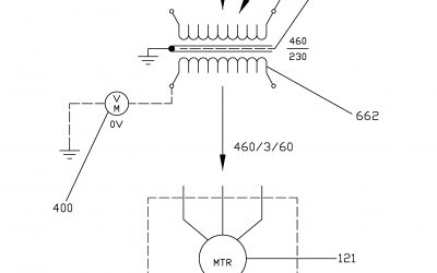
Vacuum Furnace Patent Awarded for Use with a 600 HP 460 Volt Motor
Solar Manufacturing Inc., Sellersville, Pa. announces the receipt of US Patent No. 11053560 issue date July 6, 2021. The patent covers the use of a full isolation power transformer for use with a 600 HP 460 volt motor, and with an ionizing gas, such as Argon, to prevent electric motor ground fault...
50 Largest North American Commercial Heat Treaters-Accurate Steel Treating
As we compile our list of the 50 largest commercial heat treaters in North America one which will definitely make our list is Accurate Steel Treating in Southgate, California. Accurate Steel Treating was founded in 1962 on a strong commitment to quality and customer service. The company grew and...
“The Monty Heat Treat News” Magazine-the July 2021 Edition
The July 2021 edition of "The Monty Heat Treat News", all 80 pages is now available on line at https://fliphtml5.com/gvbzt/wzro In this issue you will find the absolute latest news and trends in the global heat treatment industry, much of it exclusive to "The Monty"! After 25 years of publishing we...
GM Enterprises Vacuum Furnace 48” X 48” X 60”-2Bar
Recently "The Monty Heat Treat News" added a vacuum furnace to our used equipment listings-a vacuum furnace which is relatively uncommon on the used market mainly because of its size 48" X 48" X 60". While it is complete and ready to run it will certainly require work on the hot zone. Currently the...
Memorial Day
"The Monty" will be closed for the July 4 Memorial day and regular news will resume Tuesday morning. Did you like this article? Click here to subscribe to The Monty. View our recent magazines and podcasts by clicking the following link. https://themonty.com/magazine/...
ECM Completing Installation of New Vacuum Carburizing System
Almost exactly one year ago Nitrex Heat Treating Services announced that they would be installing a new vacuum carburizing system provided by ECM at their Illinois, USA location (to learn how Nitrex compares in size to other North American heat treaters we would suggest this list as compiled by "The...












